|
| Long Weld Neck - Class 300 |

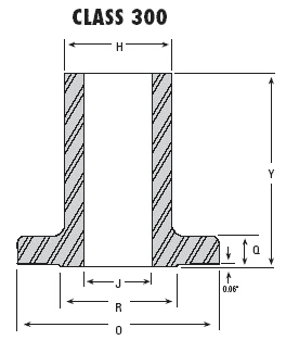
NOMINAL SIZE AND BORE J |
OUTSIDE DIA.
O |
MINIMUM FLANGE THICKNESS
Q |
DIA. OF RAISED FACE
R |
MINIMUM WALL THICKNESS |
DIA. OF HUB AT POINT OF WELDING H |
LENGTH THROUGH HUB
Y |
| 0.5 |
3.75 |
0.56 |
1.38 |
0.50 |
1.50 |
9.00 |
| 0.75 |
4.62 |
0.62 |
1.69 |
0.56 |
1.88 |
9.00 |
| 1 |
4.88 |
0.69 |
2.00 |
0.56 |
2.12 |
9.00 |
| 1.25 |
5.25 |
0.75 |
2.50 |
0.62 |
2.50 |
9.00 |
| 1.5 |
6.12 |
0.81 |
2.88 |
0.62 |
2.75 |
9.00 |
| 2 |
6.50 |
0.88 |
3.62 |
0.62 |
3.25 |
9.00 |
| 2.5 |
7.50 |
1.00 |
4.12 |
0.72 |
3.94 |
9.00 |
| 3 |
8.25 |
1.12 |
5.00 |
0.81 |
4.62 |
9.00 |
| 3.5 |
9.00 |
1.19 |
5.50 |
0.88 |
5.25 |
9.00 |
| 4 |
10.00 |
1.25 |
6.19 |
0.88 |
5.75 |
12.00 |
| 5 |
11.00 |
1.38 |
7.31 |
1.00 |
7.00 |
12.00 |
| 6 |
12.50 |
1.44 |
8.50 |
1.06 |
8.12 |
12.00 |
| 8 |
15.00 |
1.62 |
10.62 |
1.12 |
10.25 |
12.00 |
| 10 |
17.50 |
1.88 |
12.75 |
1.31 |
12.62 |
12.00 |
| 12 |
20.50 |
2.00 |
15.00 |
1.38 |
14.75 |
12.00 |
| 14 |
23.00 |
2.12 |
16.25 |
1.38 |
16.75 |
12.00 |
| 16 |
25.50 |
2.25 |
18.50 |
1.50 |
19.00 |
12.00 |
| 18 |
28.00 |
2.38 |
21.00 |
1.50 |
21.00 |
12.00 |
| 20 |
30.50 |
2.50 |
23.00 |
1.56 |
23.12 |
12.00 |
| 24 |
36.00 |
2.75 |
27.25 |
1.81 |
27.62 |
12.00 |
| - |
DRILLING TEMPLATE |
APPROX. WEIGHT IN POUNDS |
NOMINAL SIZE AND BORE J |
NO. OF HOLES |
DIA. OF HOLES |
DIA. OF BOLTS |
DIA. BOLT CIRCLE |
| 0.5 |
4 |
0.62 |
0.50 |
2.62 |
10 |
| 0.75 |
4 |
0.75 |
0.62 |
3.25 |
10 |
| 1 |
4 |
0.75 |
0.62 |
3.50 |
10 |
| 1.25 |
4 |
0.75 |
0.62 |
3.88 |
14 |
| 1.5 |
4 |
0.88 |
0.75 |
4.50 |
17 |
| 2 |
8 |
0.75 |
0.62 |
5.00 |
19 |
| 2.5 |
8 |
0.88 |
0.75 |
5.88 |
28 |
| 3 |
8 |
0.88 |
0.75 |
6.62 |
36 |
| 3.5 |
8 |
0.88 |
0.75 |
7.25 |
45 |
| 4 |
8 |
0.88 |
0.75 |
7.88 |
54 |
| 5 |
8 |
0.88 |
0.75 |
9.25 |
86 |
| 6 |
12 |
0.88 |
0.75 |
10.62 |
108 |
| 8 |
12 |
1.00 |
0.88 |
13.00 |
150 |
| 10 |
16 |
1.12 |
1.00 |
15.25 |
218 |
| 12 |
16 |
1.25 |
1.12 |
17.75 |
289 |
| 14 |
20 |
1.25 |
1.12 |
20.25 |
342 |
| 16 |
20 |
1.38 |
1.25 |
22.50 |
426 |
| 18 |
24 |
1.38 |
1.25 |
24.75 |
493 |
| 20 |
24 |
1.38 |
1.25 |
27.00 |
575 |
| 24 |
24 |
1.62 |
1.50 |
32.00 |
823 | Necks are furnished machined all over. Unless otherwise specified, Class 300 Seamless Long Weld Necks will be furnished drilled and with a 0.06" raised face which is included in thickness "Q" and Length "Y". Long Weld Necks conform to the requirements of the latest API/ASME Code. Other lengths available upon request. |
|
|
|